


NAS G系列交流伺服驱动系统是亿万28网页在线玩-亿万28入口网页版-万28官网下载最新版-亿万e网址pg-亿万28网页版网址-亿万28赏金女王-亿万28pg电子科技为伺服节能型注塑机专门开发的的高性能交流伺服系统,该系列产品具有响应快速、控制精确等特点,能够完美地实现伺服系统对注塑机油泵的控制。
1.命名规则

2.技术规范
绝缘耐压等级
F级
保护型式
IP54,强制风冷
振动等级
振动加速度5g (即:49m/s2)
安装方式
法兰安装
使用环境温度
-10℃~+40℃
保存环境温度
-20℃~+60℃
湿热
95%RH以下(不凝露)
标准高度
海拔1000m以下(1000m以上请降额使用)
反馈元件
旋转变压器
3.产品参数
电机型号
额定扭矩N.m
额定电流
A
最大电流
A
额定转速
rpm
最高转速
rpm
转动惯量
kg.cm2
力矩常数N.m/A
电机
重量
kg
推荐配套
驱动器型号
140-4G20/17-54XNGY-S
20
6.4
19.5
1700
2500
17.2
3.2
14.1
NAS4E13/23XS
140-4G26/17-75XNGY-S
26
8.2
26.2
1700
2500
25.2
3.2
17.8
NAS4E13/23XS
140-4G36/17-105XNGY-S
36
11.5
36.2
1700
2500
36.2
3.1
22.9
NAS4E17/31XS
140-4G18/20-54XNGY-S
18
6.9
23.6
2000
2500
17.2
2.6
14.1
NAS4E13/23XS
140-4G24/20-75XNGY-S
24
9.5
31.2
2000
2500
25.2
2.5
17.8
NAS4E17/31XS
140-4G33/20-105XNGY-S
33
12.7
43
2000
2500
36.2
2.6
22.9
NAS4E17/31XS
190-4G60/17-140XNGY
60
19.2
56
1700
2600
58.3
3.1
30
NAS4G25/45XS
190-4G75/17-160XNGY
75
23.3
72
1700
2600
70.1
3.2
34
NAS4G32/58XS
190-4G88/17-200XNGY
88
28.3
70
1700
2600
93.6
3.1
41
NAS4G37/67XS
190-4G115/17-240XNGY
115
35.9
110
1700
2600
105.4
3.2
44
NAS4G45/81X
190-4G140/17-320XNGY
140
40.8
142
1700
2600
128.8
3.4
50
NAS4G60/108X
190-4G165/15-360XNGY
165
43.7
145.3
1500
2200
152.3
3.8
57
NAS4G60/108X
190-4G185/15-400XNGY
185
53.4
136.1
1500
2200
164.6
3.5
61
NAS4G75/135X
190-4G220/15-500XNGY
220
60.9
198
1500
2200
199.3
3.6
70
NAS4G90/162X
190-4G58/20-140XNGY
58
22.1
48
2000
2600
58.3
2.6
30
NAS4G25/45XS
190-4G72/20-160XNGY
72
27.5
67
2000
2600
70.1
2.6
34
NAS4G32/58XS
190-4G86/20-200XNGY
86
33
85
2000
2600
93.6
2.6
41
NAS4G37/67XS
190-4G110/20-240XNGY
110
42.2
96
2000
2600
105.4
2.6
44
NAS4G45/81X
190-4G138/20-320XNGY
138
53.4
132
2000
2600
128.8
2.6
50
NAS4G60/108X
190-4G160/20-360XNGY
160
61.8
148
2000
2600
152.3
2.6
57
NAS4G75/135X
190-4G180/20-400XNGY
180
71.4
170
2000
2600
164.6
2.5
61
NAS4G75/135X
190-4G215/20-500XNGY
215
83.5
195
2000
2600
199.3
2.6
70
NAS4G90/162X
230/260-4G240/15-520XNGY
240
74.8
172
1500
2200
299.4
3.2
82
NAS4G90/162X
230/260-4G265/15-560XNGY
265
80.9
188
1500
2200
328.1
3.3
88
NAS4G90/162X
230/260-4G300/15-660XNGY
300
90.4
209.9
1500
2200
366.7
3.3
95
NAS4G110/198X
260-4G360/15-800XNGY
360
111
252
1500
2200
434
3.2
108
NAS4G110/198X
260-4G420/15-900XNGY
420
126.3
293.8
1500
2200
501.3
3.3
122
NAS4G150/270X
260-4G480/15-1000XNGY
480
137.7
320
1500
2200
564.6
3.5
136
NAS4G150/270X
260-4G520/15-1100XNGY
520
159.2
380
1500
2200
631.5
3.3
150
NAS4G180/270X
260-4G570/15-1200XNGY
570
169.2
420
1500
2200
692.8
3.4
161
NAS4G180/270X
230/260-4G230/20-520XNGY
230
92.9
223
2000
2600
299.4
2.5
82
NAS4G110/198X
230/260-4G260/20-560XNGY
260
105.9
250
2000
2600
328.1
2.5
88
NAS4G110/198X
230/260-4G290/20-660XNGY
290
114.1
270
2000
2600
366.7
2.5
95
NAS4G150/270X
260-4G350/20-800XNGY
350
133.9
316
2000
2600
434
2.61
108
NAS4G150/270X
260-4G408/20-900XNGY
408
160.9
377
2000
2600
501.3
2.54
123
NAS4G180/270X
260-4G466/20-1000XNGY
466
178.7
425
2000
2600
564.6
2.61
136
NAS4G180/270X
260-4G505/20-1100XNGY
505
193.8
472
2000
2600
631.5
2.61
150
NAS4G210/480X
260-4G550/20-1200XNGY
550
217.2
540
2000
2600
692.8
2.53
161
NAS4G210/480X
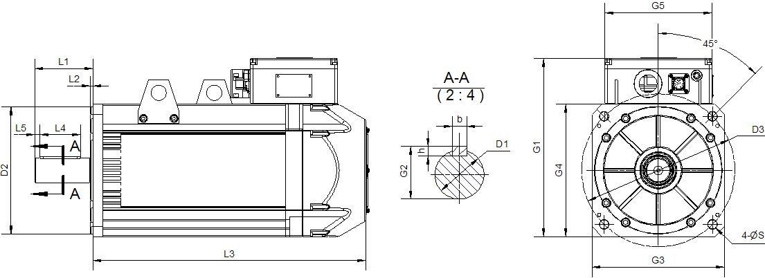
140机座G系列电机安装尺寸图:
190/230/260 机座G系列电机外形图:
190/230/260 机座G系列电机安装尺寸图:
|
公差尺寸 |
电机类型 |
D1(mm) |
D2(mm) |
b(mm) |
|
140 |
+0.015 +0.002 |
+0.014 -0.011 |
0 -0.036 |
|
|
190 |
+0.018 +0.002 |
0 -0.046 |
0 -0.036 |
|
|
230/260 |
+0.018 +0.002 |
0 -0.046 |
0 -0.043 |
电机外形尺寸数据表(mm):
|
电机型号 |
D1 |
L1 |
b |
h |
D2 |
L2 |
D3 |
S |
L3 |
G1 |
G2 |
G3 |
G4 |
G5 |
G6 |
L4 |
L5 |
L6 |
L7 |
M |
|
140-4G20/17-54XNGY-S |
Φ24 |
50 |
8 |
7 |
Φ130 |
3.5 |
Φ165 |
Φ11 |
238.5 |
214.1 |
27 |
140 |
140 |
113 |
/ |
40 |
5 |
/ |
/ |
/ |
|
140-4G18/20-54XNGY-S |
||||||||||||||||||||
|
140-4G26/17-75XNGY-S |
278.5 |
|||||||||||||||||||
|
140-4G24/20-75XNGY-S |
||||||||||||||||||||
|
140-4G36/17-105XNGY-S |
333.5 |
|||||||||||||||||||
|
140-4G33/20-105XNGY-S |
||||||||||||||||||||
|
190-4G60/17-140XNGY |
Φ42 |
88 |
12 |
8 |
Φ180 |
5 |
Φ215 |
Φ15 |
373 |
286.5 |
45 |
212 |
212 |
160 |
117.5 |
70 |
6 |
29 |
164 |
M8 |
|
190-4G58/20-140XNGY |
373 |
164 |
||||||||||||||||||
|
190-4G75/17-160XNGY |
391 |
182 |
||||||||||||||||||
|
190-4G72/20-160XNGY |
391 |
182 |
||||||||||||||||||
|
190-4G88/17-200XNGY |
409 |
200 |
||||||||||||||||||
|
190-4G86/20-200XNGY |
409 |
200 |
||||||||||||||||||
|
190-4G115/17-240XNGY |
445 |
236 |
||||||||||||||||||
|
190-4G110/20-240XNGY |
445 |
236 |
||||||||||||||||||
|
190-4G140/17-320XNGY |
481 |
272 |
||||||||||||||||||
|
190-4G138/20-320XNGY |
481 |
272 |
||||||||||||||||||
|
190-4G165/15-360XNGY |
517 |
308 |
||||||||||||||||||
|
190-4G160/20-360XNGY |
517 |
308 |
||||||||||||||||||
|
190-4G185/15-400XNGY |
535 |
326 |
||||||||||||||||||
|
190-4G180/20-400XNGY |
535 |
326 |
||||||||||||||||||
|
190-4G220/15-500XNGY |
589 |
380 |
||||||||||||||||||
|
190-4G215/20-500XNGY |
589 |
380 |
190/230/260 机座G系列电机外形图:
190/230/260 机座G系列电机底脚安装尺寸图: